Мазда 3 bk Ошибка P0500 P0720 • Топливный насос
СИСТЕМА БЕССТУПЕНЧАТОЙ ТРАНСМИССИИ, Diagnostic DTC:P0720, P0722
ECM получает сигнал от датчика частоты вращения вторичного шкива (датчика оборотов трансмиссии (NOUT)), установленного в бесступенчатой трансмиссии, и определяет частоту вращения выходного вала в целях регулирования передаточного числа.
Датчик оборотов трансмиссии (NOUT) определяет частоту вращения выходного вала бесступенчатой трансмиссии и передает соответствующий сигнал в ECM.
Сбой сигнала датчика оборотов трансмиссии (NOUT) не обнаружен.
Выходное напряжение датчика оборотов трансмиссии (NOUT) составляет менее 0,1 В или более 1,9 В.
Автомобиль движется, рычаг переключения передач находится в положении D, частота вращения выходного вала составляет 300 об/мин или выше, и сигнал датчика положения паркинга/нейтрали поступает без ошибок.
Определяемая датчиком оборотов трансмиссии (NOUT) частота вращения составляет менее 300 об/мин.
ECM получает сигнал от датчика частоты вращения вторичного шкива (датчика оборотов трансмиссии (NOUT)), установленного в бесступенчатой трансмиссии, и определяет частоту вращения выходного вала в целях регулирования передаточного числа.
Если ECM не получает сигнал от датчика частоты вращения вторичного шкива (датчика оборотов трансмиссии (NOUT)), даже когда автомобиль движется, он расценивает это как неисправность датчика частоты вращения вторичного шкива (датчика оборотов трансмиссии (NOUT)). При этом ЕСМ включает контрольную лампу неисправности и сохраняет код DTC.

СНИМИТЕ ПОКАЗАНИЯ GTS (SPD (NOUT) И NOUT SENSOR VOLTAGE)
Установите замок зажигания в положение ON (ВКЛ).
Войдите в следующие меню: Powertrain / Engine and ECT / Data List / Primary.
Следуя подсказкам на экране GTS, считайте данные в режиме Data List.
Приблизительно 3000 об/мин: Автомобиль движется с постоянной скоростью примерно 60 км/час (37 миль в час)
ПРОВЕРЬТЕ ДАТЧИК ОБОРОТОВ ТРАНСМИССИИ (NOUT)
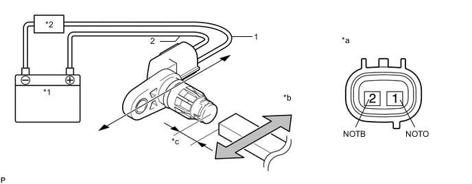
Снимите датчик оборотов трансмиссии (NOUT).
Подсоедините аккумуляторную батарею к датчику, как показано на рисунке.
Устройство с неподсоединенным жгутом проводов
Отклоните магнит влево и вправо перед концом датчика оборотов трансмиссии (NOUT) (на расстоянии не более 5 мм (0,197 дюйма)), чтобы сформировать сигналы высокого/низкого уровня в процессе измерения тока.
Обязательно отклоняйте магнит в ходе проверки. Ток не изменится, если магнит не будет отклоняться, как показано стрелкой на рисунке.
Измерьте ток в соответствии со значениями, приведенными в таблице ниже.
| 1 (NOTO) — 2 (NOTB) | Сигнал низкого уровня | 4 — 8 мА |
| 1 (NOTO) — 2 (NOTB) | Сигнал высокого уровня | 12 — 16 мА |
| 1 (NOTO) — 2 (NOTB) | Сигнал низкого уровня | 4 — 8 мА |
| 1 (NOTO) — 2 (NOTB) | Сигнал высокого уровня | 12 — 16 мА |
Ошибка p0087, причины, как устранить
P0720, P0722 Это описана полная проверка топливной системы для выявления причины появления кода ошибки p0087. Однако не всегда требуется полная проверка системы.
Симптомы неисправности
Основным признаком кода P0030 для водителя является горящая лампа MIL (индикатор неисправности). Его также называют Check Engine или просто «проверка включена».
- На панели управления загорится контрольная лампа «Проверьте двигатель» (код будет записан в память ECM как неисправность).
- В некоторых случаях модуль управления двигателем (ECM) может перевести автомобиль в аварийный режим.
- Иногда симптомы могут отсутствовать, несмотря на сохраненный код неисправности.
Когда появляется этот код, автомобиль может продолжать движение, но проблему необходимо устранить как можно скорее. Для предотвращения потенциальных проблем, таких как отказ цепи датчика и повышенный расход топлива. Если долго игнорировать проблему, возможна нестабильная работа двигателя и выход из строя других узлов.

Решение проблемы кода неисправности P0030: расшифровка, причины, сброс
Причины возникновения ошибки

Ошибка P0420: расшифровка кода ошибки, как и что проверять
- Обрыв питания, заземление или электрическая цепь внутри датчика O₂.
- Нет заземления из-за поломки или ржавчины.
- Иногда причина — неисправный PCM.
Решение проблемы кода неисправности P0705: расшифровка, причины, сброс Если ECM не получает сигнал от датчика частоты вращения вторичного шкива (датчика оборотов трансмиссии (NOUT)), даже когда автомобиль движется, он расценивает это как неисправность датчика частоты вращения вторичного шкива (датчика оборотов трансмиссии (NOUT)). При этом ЕСМ включает контрольную лампу неисправности и сохраняет код DTC.
Диагностика системы
Итак, электронный блок вывел на дисплей код «p0087». Сначала нужно определить, с каким из элементов возникли проблемы.
Проводка
Первым, что можно сделать – проверить соединения проводки, подходящей к элементам топливной системы. Возможно, что какой-то из проводов окислился или оборвался.

Если с проводкой все нормально, а зачистка клемм к результатам не привела, следует проверить один за одним все элементы топливной системы.
Топливный насос
Сначала производится проверка состояния топливного насоса. Одной из причин появления такой неисправности является сильное засорение топливного фильтра, из-за чего насос не способен обеспечить должную производительность.
На СТО топливный насос могут проверить при помощи манометра, какое он давление создает.
Топливные магистрали
Если насос подозрений не вызывает, следующими проверяются топливные магистрали на наличие подтеков.
Проверяются как магистрали, так и штуцера, которыми они подсоединяются к элементам системы.
Во время этой проверки стоит поинтересоваться состоянием топливного фильтра тонкой очистки.
После проверки магистралей диагностируют состояние датчика и клапана давления, установленные на рампе.
На дизельных авто следующим проверяется топливный насос высокого давления (ТНВД), а у инжекторных бензиновых автомобилей бензонасос высокого давления.
В бензиновых автомобилях с системами FSI, GDI и ряде других (все, что с непосредственным впрыском) оснащаются двумя насосами — небольшого давления (тот который размещается в баке), а также насосом высокого давления (размещается возле ГБЦ, поскольку привод у него от распредвала). В тексте выше речь идет про бензиновый насос высокого давления, который находится возле распредвала.
Но эту проверку выполнить самому невозможно, поскольку продиагностировать его можно только на специальном стенде.
Форсунки
Последними проверяются форсунки. Они могут не удерживать топливо, и оно постоянно будет поступать в цилиндры, при этом нужное давление топлива удерживаться не будет.
Но топливные форсунки тоже проверяются на специальном стенде.
Таким способом можно выявить элемент, который стал причиной появления такой неисправности.
Распространенные причины ошибки p0087 у разных типов автомобилей
Это описана полная проверка топливной системы для выявления причины появления кода ошибки p0087. Однако не всегда требуется полная проверка системы.
Когда обнаруживается код?
Информация для конкретных моделей Mazda «Троение» двигателя также является характерным симптомом при коде ошибки p0340. Отсутствие своевременного воспламенения в одном из цилиндров может сопровождаться детонационным сгоранием топлива, которое может стать причиной более серьезных поломок.
Значение, причины, симптомы и технические примечания
P0661 MAZDA Возможные причины
- Неисправность вторичного затвора клапана (ПОК) электромагнитный клапан
- Вторичный затвор клапана Электромагнитный клапан Жгут открыт или короткое замыкание
- Вторичный затвор клапана (ПОК) электромагнитный клапан контура плохое электрическое соединение
Как исправить ошибку P0661 MAZDA?
Начните с проверки «Возможных причин», перечисленных выше.Осмотрите соответствующий жгут проводов и разъемы. Проверьте наличие поврежденных компонентов и поищите сломанные, изогнутые, выдвинутые или корродированные контакты разъема.
Сколько стоит диагностика кода MAZDA P0661
Трудоемкость: 1.0
Стоимость диагностики кода MAZDA P0661 составляет 1,0 час труда. Расценки на ремонт автомобилей сильно различаются по стране и даже в пределах одного города. Большинство автомастерских берут от 75 до 150 долларов в час.
Когда обнаруживается код?
Возможные симптомы
P0661 MAZDA Значение
Модуль управления силового агрегата (РСМ ) контролирует Вторичный затвор клапана (ПОК) электромагнитный регулирующий клапан, когда напряжение PCM оборотов МПВ электромагнитный клапан выключен.Если управляющее напряжение меньше 5,8 В, PCM определяет, что напряжение цепи управления электромагнитного клапана SSV низкое.
Информация для конкретных моделей Mazda

Как устранить или сбросить код неисправности P0705
- Замена драйвера PCM автомобиля
- Замена электромагнитного клапана системы изменения геометрии впускного коллектора (банк 1) или модуля управления топливными форсунками
- Ремонт или замена электрических проводов или соединителей
Причины возникновения ошибки P0420 в автомобиле Насколько серьезной является ошибка P0705? Данная ошибка является не очень серьезной, однако при загорании индикатора Check Engine автомобиль не сможет пройти проверку на токсичность отработавших газов.
Как избавиться от ошибки p0340
Даже если отсутствуют какие-либо внешние проявления нестабильной работы системы впрыска и зажигания топлива, при наличии ошибки p340, рекомендуется как можно скорее восстановить работоспособность системы мониторинга автомобиля.
Устранение ошибки p0340 возможно следующим образом:
- Отключить минусовую клемму аккумулятора на 10 – 20 секунд. Если после подключения электрического источника и сканирования системы снова появится ошибка датчика положения распредвала, то следует выполнить более детальную диагностику. Если таким образом получится полностью устранить проблему, то это будет означать, что ЭБУ было получено ложное сообщение о неисправности сенсора.
- Проверить контакт проводов и защелки датчика. При необходимости следует восстановить качество крепления сенсора, закрутив гайку рекомендованным моментом затяжки, а также очистить контакты от ржавчины и окисления.
- Мультиметром проверить целостность проводов идущих от сенсора к ЭБУ.
- Проверить работоспособность датчика положения распредвала.
- Проверить датчик коленвала.

Если в результате проведенных исследований будет выявлена техническая проблема, то после ее устранения исчезнет и ошибка p0340. В противном случае, потребуется выполнить диагностику электронного блока управления.
Определение кода ошибки p0340
Определение кода ошибки p 0340 – неисправность цепи датчика положения распределительного вала. Поэтому, при наличии этого кода на дисплее приборной панели следует приступить к проверке этой детали как можно скорее, чтобы не эксплуатировать автомобиль в аварийном режиме.
Находится датчик положения распредвала на автомобилях 16 и 8 клапанов у первого цилиндра. Если эксплуатируется машина с дизельным двигателем, то такой датчик должен находиться у каждого поршня.
Общие ошибки при диагностировании кода p0340
При попытке найти причину появления ошибки p340 можно допустить неточности, которые могут стать причиной увеличения времени, затраченного на эти цели. Наиболее часто неопытные мастера пренебрегают проверкой целостности проводов, ведущих от сенсора к ЭБУ.
Ошибка при попытке найти неисправности camshaft position sensor также могут заключаться в игнорировании рекомендаций проверки датчика коленвала, которые работает в паре с ДПРВ.
Какой ремонт может исправить ошибку p0340
Ремонт camshaft position sensor может быть выполнен своими руками. Устранить появление ошибки p0340 можно следующим образом:
- Осуществив монтаж нового датчика положения распредвала.
- Установив новые провода, идущие от сенсора к ЭБУ.
- Заменив датчик положения коленвала.
- Установив новый электрический блок управления.
Если необходим ремонт электронного блока управления, то для выполнения этой работы лучше обратиться в мастерскую. Учитывая сложность этой детали и важность ее правильной установки и настройки, следует привлекать для этой цели только высококвалифицированных специалистов.
Симптомы неисправности
- Сигнал от датчика на ЭБУ не приходит в течение более 5 секунд.
- Сигнал от датчика не приходит на электронный блок при частоте вращения коленвала более 600 об/мин.
Как механик диагностирует ошибку P0661? Степень серьезности ошибки P0705 варьируется от средней до серьезной. Двигатель может перестать запускаться. Также возможен переход трансмиссии в аварийный режим работы.
Причины возникновения ошибки P0420 в автомобиле
Чаще всего код P0420 может появляться при:
- использовании некачественного топлива;
- выходе из строя второго кислородного датчика;
- физическом повреждении катализатора (ведет к снижению эффективности его функционирования, а также опасности повреждения двигателя);
- неполадках в работе системы выпуска отработавших газов (нарушение целостности и герметичности выпускного коллектора или глушителя);
- слишком высоком давлении топлива в системе, при котором не все пары топливо-воздушной смеси сгорают в цилиндре двигателя.
Самой безобидной из всех озвученных причин можно назвать некачественный бензин, а наиболее опасной — повреждение внутренностей нейтрализатора. При этой проблеме части катализатора могут попадать в двигатель, необратимо разрушая его. В этом случае решением проблемы может быть удаление, либо замена данного узла на новый.
Дешевле всего обходится удаление катализатора, однако стоит помнить, что в таком случае автомобиль перестает соответствовать нормам выброса, установленным при производстве (чаще всего Евро-4 и выше). При удалении нейтрализатора дополнительно необходимо программная перепрошивка ЭБУ для исключения случаев возникновения ошибок от неиспользующегося второго кислородного датчика.
Каталитический нейтрализатор может приходить в негодность по следующим причинам:
- пропусках воспламенения при нагрузке на двигатель. Проблема может появляться при эксплуатации некачественных или отработавших свой срок свечей зажигания;
- повышенном расходе масла при эксплуатации авто;
- утечках выхлопных газов;
- неисправности блока управления двигателем.
Главное, что необходимо помнить при появлении кода P0420 — нет никакой гарантии, что дорогостоящая замена катализатора решит проблему.
Ведь причиной может стать банальное нарушение целостности прокладок выхлопной системы, либо неисправность датчиков кислорода.

Информация для конкретных моделей Mazda
- увеличенным расходом топлива при езде;
- снижением динамических характеристик авто;
- появлением неприятного запаха отработавших газов;
- механическим дребезгом в районе нейтрализатора (очень опасное состояние, требует немедленной замены данного узла);
- трудностями с запуском двигателя.
P0661 MAZDA Описание Вполне возможно, что виной этой неисправности может быть всего лишь отошедший провод от одного из датчиков, сильное загрязнение топливного фильтра или износ приводного элемента.
