Ошибка Р0011 Киа Рио Плавают Обороты – Ошибка p0335
Возможные причины отказа запуска двигателя
В зависимости от степени износа узлов и деталей автомобиля, климатических условий, иных особенностей причинами отказа запуска двигателя могут быть:
- разряд аккумуляторной батареи;
- неисправность стартера;
- отказ предохранителей и реле;
- неработоспособность элементов проводки, контактов, разъемов;
- неисправность бензонасоса;
- некорректная работа датчиков и исполнительных устройств блока управления двигателя;
- проблемы, связанные с экстремально низкими температурами окружающей среды (парафинирование топлива, снижение емкости АКБ);
- проблемы иммобилайзера и другие.
Учитывая, что только перечисленных причин множество, следует руководствоваться определенной последовательностью действий, чтобы минимизировать время устранения неисправности. В какой последовательности следует искать конкретный источник отказа запуска двигателя в Kia Sportage.

Не заводится Киа Спортейдж: причины, как исправить
Проверка предохранителей и реле

Ремонт Киа Спортейдж: Система бортовой самодиагностики (OBD) — общая информация Kia Sportage
- F10 15 А – предохранитель топливного насоса;
- F17 20 А – электронный блок управления;
- F18 10А — ЭБУ, иммобилайзер;
- F20 30 А – ЭБУ;
- F26 30 А — зажигания ключ;
- F29 30 А — зажигания ключ;
- F33 120 А – генератор;
- F34 10 А — ЭБУ (диз).
Код ошибки P0014 (симптомы, причины и способы устранения) » The-Drive — полезный сайт для автолюбителей Далее следует проконтролировать срабатывание реле. Это можно делать на слух или ощупь. При включении зажигания и старте должны срабатывать следующие реле:
Система бортовой самодиагностики (OBD) — общая информация Киа Спортейдж
Задачей любой бортовой системы самодиагностики (OBD) является выявление отказов и нарушений функционирования подконтрольных систем с занесением в память процессора соответствующих диагностических кодов (DTC) и оповещением водителя о факте нарушения (обычно посредством вмонтированной в комбинацию приборов контрольной лампы отказов MIL/«Проверьте двигатель»).
Помимо кода DTC в памяти ECM фиксируется также текущие рабочие параметры двигателя на момент выявления нарушения.
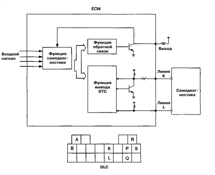
В модулях управления дизельных моделей предусмотрена функция самодиагностики с обратной связью, позволяющая минимизировать эффект ошибок главного оборудования входного и выходного трактов ECM.
Принцип организации функции самодиагностики ECM на дизельных моделях

Считывание данных памяти процессора OBD производится при помощи специального сканера (типа HI-Scan), подключаемого к 20-контактному диагностическому разъему считывания базы данных (DLC), закрепленному на корпусе воздухоочистителя в левом заднем углу двигательного отсека, — еще один стандартный 16-контактный DLC OBD II установлен в салоне автомобиля слева под панелью приборов.
Диагностические разъемы DLC позволяют производить считывание кодов неисправностей при помощи специального сканера
1 — Заземление
2 — Сигнальное заземление
3 — Функция бортовой диагностики
4 — Напряжение батареи (В+)
| Использование при диагностике рассматриваемых систем цифрового мультиметра с высоким импедансом существенно повышает точность измерений, производимых в низковольтном диапазоне. |
Альтернативным способом считывания данных OBD является подключение к системе персонального компьютера, оборудованного специальным кабелем и оснащенного программным обеспечением OBD.
Более подробную информацию считыванию данных при помощи сканеров можно узнать на сайтах www.obdii.com, www.obd-2.com и www.obd-2.de.
Более подробная информация по считыванию кодов неисправностей приведена в руководстве пользователя к сканеру. Список кодов неисправностей приведен в Спецификациях к Главе Системы питания, управления двигателем/снижения токсичности отработавших газов и выпуска отработавших газов.
- Подключите считыватель HI-Scan к какому-либо из DLC.
- Запустите двигатель.
- Действуя в соответствии с прилагаемому к сканеру инструкциями, произведите считывание занесенных в память процессора OBD кодов 5-разрядных DTC. Перечень отдельных кодов см. в Спецификациях Главы Системы питания, управления двигателем/снижения токсичности отработавших газов и выпуска отработавших газов.
- Произведите соответствующий восстановительный ремонт, затем очистите память процессора.
![]() | Использование при диагностике рассматриваемых систем цифрового мультиметра с высоким импедансом существенно повышает точность измерений, производимых в низковольтном диапазоне. |
Работа над ошибками. Р0014 KIA Sportage G4KD, причины, ремонт
- На время более чем 20 секунд отсоедините отрицательный провод от батареи.
- После подсоединения батареи подключите считыватель к DLC и включите зажигание.
- Запустите двигатель и дайте ему поработать порядка трех минут с оборотами 2000 в минуту.
- Удостоверьтесь в отсутствии в памяти процессора кодов неисправностей (DTC).
- В случае необходимости произведите соответствующий восстановительный ремонт и повторите процедуру очистки памяти.
Kia Sportage 2 — проблемы и неисправности Линейка двигателей представлена бензиновыми атмосферниками — четырехцилиндровым G4GC (2,0 л, 142 л.с.) и шестицилиндровым G6BA (V6, 2,7 л, 175 л.с.), а так же турбодизелем – D4EA (2,0 л, 112 л.с.).

