Тормозные Диски Honda cb 400 Vtec • Honda cb 400 four 1992
Honda CB 400 SF — Лучший для начинающих мотоциклистов
Одна из причин коммерческого успеха Хонды СБ 400 — сбалансированные технические характеристики. Этот байк отлично управляется, бодро разгоняется, уверенно тормозит и отличается высокой надёжностью. Он не лишён и некоторых «детских болячек», но достоинств у него больше, чем недостатков.
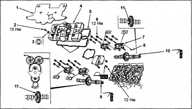
Двигатель
Трансмиссия
Мотоцикл оснащён 6-ступенчатой коробкой передач, безотказной, как швейцарские часы. При должном обслуживании КПП может служить десятилетиями без поломок и ремонтов, и проблем с ней практически не бывает.
Ходовая часть и тормоза
Стальная дуплексная рама, 43-миллиметровая вилка-телескоп спереди, короткоходные амортизаторы сзади — схема классическая. Подвески Honda CB 400 не хватают звёзд с неба, но они отличаются выносливостью и универсальностью. Задние амортизаторы регулируются по преднатяжению.
Электроника
Вес и габариты
По этим параметрам Honda CB 400 Super Four является крепким середнячком. Длина мотоцикла колеблется от 2045 до 2080 мм в зависимости от года выпуска, ширина — от 720 до 735 мм, от 1070 до 1160 мм. Высота по седлу — от 755 до 775 мм. Сухая и снаряженная масса — 168-173 и 189-200 кг соответственно.
Управляемость
Это одна из самых весомых причин, почему CB400 пользуется такой популярность. Управляется мотоцикл великолепно, он послушно реагирует на любые усилия водителя и легко маневрирует в потоке автомобилей. Цепкие тормоза и динамичный разгон позволяют Хонде СБ400 чувствовать себя в городе, как рыбе в воде.
Расход топлива

Honda CB 400 SF
Honda CB 400 SF VTEC ABS с аукционов

Honda CB 400 SF VTEC ABS купить с доставкой в Москву, Краснодар, Владивосток
- присутствие защиты от ветра;
- наличие квадратной фары модели Future Focus 80/70W (ранее – H4 60/55W);
- наличие видоизменений в выхлопной системе, глушитель сделан уже из алюминия (ранее — металл);
- изменение числа зубьев задней звезды (45 вместо 42) и передаточного числа (2,171/3,000 вместо 2,171/2,800);
- наличие электронной системы зажигания;
- изменение панели приборов;
- изменение размеров и веса, угла наклона вилки (с 26°45′ на 27°15′).
Информация по мотоциклу Honda CB 400 В крупных городах они обычно есть в наличии в мотомагазинах, причём купить можно практически всё, что угодно — сказывается популярность модели. А через сервисы вроде Exist и Megazip можно заказать всё, чего в наличии нет. Цена на запчасти достаточно умеренная.
Краткая история модели
| Модель | Honda CB 400 Super Four |
| Тип мотоцикла | Дорожный (street, naked) |
| Год выпуска | 1992-по наст. вр. |
| Рама | стальная диагональная |
| Тип двигателя | 4-цилиндровый, 4-тактный, рядный |
| Рабочий объем | 399 куб. см. |
| Диаметр цилиндра/ход поршня | 55 мм х 42 мм |
| Степень сжатия | 11,3:1 |
| Охлаждение | жидкостное |
| Количество клапанов на цилиндр | DOHC, 4 клапана на цилиндр |
| Система подачи топлива | карбюраторы, 4x 32 мм Keihin CV (с 2008 г. — инжектор PGM-FI) |
| Тип зажигания | электронное CDI |
| Максимальная мощность | 53 л.с. при 11000 об/мин |
| Максимальный крутящий момент | 38 Нм при 9500 об/мин |
| Коробка передач | 6-ступенчатая |
| Тип привода | цепь |
| Размер передней шины | 120/60 ZR17 |
| Размер задней шины | 160/60 ZR17 |
| Передние тормоза | 2 диска 296 мм, 4-поршневые суппорта (опц. ABS — с 2008 г.) |
| Задние тормоза | 1 диск 240 мм, 1-поршневой суппорт (опц. ABS — с 2008 г.) |
| Передняя подвеска | 43 мм телескопическая вилка, ход — 120 мм |
| Задняя подвеска | двойной амортизатор (регулировка преднатяга), ход — 110 мм |
| Длина | 2040 мм |
| Ширина | 725 мм |
| Высота | 1070 мм |
| Колесная база | 1410 мм |
| Высота по седлу | 770 мм |
| Разгон до 100 км/ч | 4,5 сек |
| Максимальная скорость | 180 км/ч (ограничитель) |
| Емкость бензобака | 18 л |
| Масса мотоцикла | 168 кг — сухая |
Рядный,4-х цилиндровый,DOHC,16 клапанов,водного охлаждения
Определение реального года выпуска по номеру рамы.

| Модель | Honda CB 400 Super Four |
| Тип мотоцикла | Дорожный (street, naked) |
| Год выпуска | 1992-по наст. вр. |
| Рама | стальная диагональная |
| Тип двигателя | 4-цилиндровый, 4-тактный, рядный |
| Рабочий объем | 399 куб. см. |
| Диаметр цилиндра/ход поршня | 55 мм х 42 мм |
| Степень сжатия | 11,3:1 |
| Охлаждение | жидкостное |
| Количество клапанов на цилиндр | DOHC, 4 клапана на цилиндр |
| Система подачи топлива | карбюраторы, 4x 32 мм Keihin CV (с 2008 г. — инжектор PGM-FI) |
| Тип зажигания | электронное CDI |
| Максимальная мощность | 53 л.с. при 11000 об/мин |
| Максимальный крутящий момент | 38 Нм при 9500 об/мин |
| Коробка передач | 6-ступенчатая |
| Тип привода | цепь |
| Размер передней шины | 120/60 ZR17 |
| Размер задней шины | 160/60 ZR17 |
| Передние тормоза | 2 диска 296 мм, 4-поршневые суппорта (опц. ABS — с 2008 г.) |
| Задние тормоза | 1 диск 240 мм, 1-поршневой суппорт (опц. ABS — с 2008 г.) |
| Передняя подвеска | 43 мм телескопическая вилка, ход — 120 мм |
| Задняя подвеска | двойной амортизатор (регулировка преднатяга), ход — 110 мм |
| Длина | 2040 мм |
| Ширина | 725 мм |
| Высота | 1070 мм |
| Колесная база | 1410 мм |
| Высота по седлу | 770 мм |
| Разгон до 100 км/ч | 4,5 сек |
| Максимальная скорость | 180 км/ч (ограничитель) |
| Емкость бензобака | 18 л |
| Масса мотоцикла | 168 кг — сухая |
Honda CB 400 SF — Лучший в своем классе, ТОП-Обзор и характеристики
- Honda CB400SF (1992-1998) — первое поколение мотоцикла.
- Honda CB400SF (1999-2001) — второе поколение мотоцикла. Маркировка Spec I. Данная модификация отличается чуть более современным внешним видом и наличием системы Hyper Vtec.
- Honda CB400SF (2002-2003) — третье поколение мотоцикла. Маркировка Spec II. Данная модификация немного отличается по внешнему виду, имеет встроенный иммобилайзер (HISS) и перенастроенную систему Hyper Vtec.
- Honda CB400SF (2004-2007) — четвертое поколение мотоцикла. Маркировка Spec III. Данная модификация имеет существенные отличия по внешнему виду и перенастроенную систему Hyper Vtec.
- Honda CB400SF Boldor (2004-2007) — версия полностью аналогичная предыдущей, но имеет передний обтекатель.
- Honda CB400SF Revo (2008-по наст. вр.) — версия аналогична четвертому поколению, но имеет другие цвета и серебристые крышки двигателя и колесные диски.
- Honda CB400SF Revo Boldor (2008-по наст. вр.) — версия аналогична Boldor-версии четвертого поколения, но отличается серебристыми крышками двигателя и колесными дисками.
CB 400 — Мотоэнциклопедия Мы приняли заявку # и свяжемся с вами в ближайшее время
Модификации мотоцикла
Хонда СВ 400 СФ прожила долгую жизнь, изрядно изменившись за это время. 2003 год стал важной вехой в истории развития модели — было выпущено третье поколение, Honda CB400SF Revo, с системой Vtec 3, которая заменила просуществовавшую всего год Vtec 2. Именно с 2003 года все CB400SFV получили Vtec третьего поколения.
Honda CB 400 Four 1992
Самое первое поколение «сибихи», ещё без Vtec и с карбюраторами Keihin CV 32 mm. Оно стало основой для всех дальнейших инкарнаций «сибихи», и все они, даже выпущенные в этом году, имеют с ним много общего.
Version R 1995
Выпускалась эта комплектация до 1998 года включительно, отличаясь от стандартной наличием пластикового обтекателя и квадратной фары вместо классической круглой.
Version S 1996
Параллельно с Version R выпускалась и CB400SF Version S, с отсутствующей центральной подножкой, по-спортивному настроенными карбюраторами Keihin и усиленными 4-поршневыми суппортами на передних тормозных дисках.
Version VTec 1999
Первая Хонда СБ400 с системой Hyper VTec. Начиная с 1999 года она устанавливается на все экземпляры.
Version VTec 2003
Мотоцикл с инжектором вместо четырёх карбюраторов. В дальнейшем карбюраторные версии CB400 более не выпускались.

Двигатель
- Феноменальная надёжность. Проблемы, конечно, бывают, особенно у старых экземпляров, но тем не менее.
- Огромный ресурс. Многие Honda CB400 Super Four уже намотали по несколько сотен тысяч километров, а их двигатели по-прежнему не спешат на покой.
- Управляемость. Справиться с байком по силами любому новичку, при наличии некоторых навыков, конечно.
- Стоимость обслуживания. В содержании мотоцикл не лезет в карман, и вряд ли он разорит своего владельца.
- Экономичность. Если не крутить ручку газа «на все деньги», расход топлива будет очень умеренным.
Расход топлива На данный момент существует 3 поколения мотоцикла.
Смотрите нас на YouTube

Видео
История модели
Сибиха Super Four — лучший мот для езды по городу, да и не только. Сравнивал с XJR 400, разница огромная, и не в пользу Ямахи — тяжелее, неповоротливее, тормоза хуже. Хонда рулит! Сергей, Краснодар.
Технические характеристики Honda CB 400 SF (VTEC)
- тип — дорожный классический мотоцикл, стрит, классик, городской байк.
- страна производитель — Япония «Honda».
- неофициальные названия — «Сибиха», «Супер Фура», «Супер Четверка».
- предшественник модели — Honda CB-1.
- рабочий объем — 400 куб. см. (399 cc).
- 4 цилиндровый, четырехтактный.
- максимальная мощность — 39,5 кВт = 53 л.с. при 11000 оборотах.
- крутящий момент — 38 Н·м при 9500 об/мин.
- диаметр цилиндра/ход поршня — 55 мм x 42 мм.
- ГРМ — DOHC, 4 клапана на цилиндр.
- степень сжатия — 11,3:1.
- тип зажигания — электронное.
- система охлаждения – жидкостная.
- система подачи топлива – VP04B.
- тип смазки — впрыск под давлением.
- система запуска – электростартер.
Трансмиссия, ходовая часть, тормозная система:
- коробка переключения передач — механическая, 5 ступеней.
- привод — цепь.
- рама — дуплексная стальная.
- передняя подвеска — телескопическая вилка.
- задняя подвеска — маятникового типа с двумя амортизаторами, регулируемыми к предварительной нагрузке.
- угол наклона/вылет передней вилки — 25,15 градусов/89 мм.
- передние тормоза — дисковые двойные 2×296 мм.
- задние тормоза — дисковые одинарные, диаметр диска 240 мм.
- длина — 2050 мм.
- ширина — 725 мм.
- высота — 1070 мм.
- высота по седлу – 760 мм.
- колесная база — 1415 мм.
- сухой вес – 168 кг.
- объем бензобака – 18 литров.
- расход топлива — от 4 до 8 литров на 100 км.
- тип топлива — бензин с октановым числом АИ-91 и выше.
- разгон с 0 до 100 км/ч — 4,5 сек.
- максимальная скорость — 190 км/ч (118 mph).

Дизайн
Недостатки

Динамика, крейсер и ускорение
Третье поколение: NC42. Одна из причин коммерческого успеха Хонды СБ 400 — сбалансированные технические характеристики. Этот байк отлично управляется, бодро разгоняется, уверенно тормозит и отличается высокой надёжностью. Он не лишён и некоторых «детских болячек», но достоинств у него больше, чем недостатков.
Технические характеристики
Рама: стальная трубчатая
Рабочий объем: 399 куб. см.
Диаметр цилиндра: 55,0 мм.
Зажигание: транзисторное
- 53 л.с. (39 кВт) при 11000 об/мин – CB400 NC31-39
- 53 л.с. (39 кВт) при 12000 об/мин – CB400 NC31 Version R
- 53 л.с. (39 кВт) при 10500 об/мин – CB400 NC42
КПП: механическая, 6-передач
Задние тормоза: 1 диск 240 мм, 1-поршневой суппорт, ABS (2008+)
Передняя вилка: телескопическая, диаметр 43 мм.
Ход передней подвески: 55,0 мм
Задняя подвеска: классическая,2 амортизатора.
Ход задней подвески: 110 мм
- 2085 мм / 720 мм / 1080 мм – CB400 NC31
- 2080 мм / 735 мм / 1125 мм — CB400 NC31 Version R, CB400 NC42
- 2040 мм / 725 мм / 1070мм — CB400 NC39
Максимальная скорость 180 км/ч (ограничитель)
Снаряженная масса (с жидкостями):
- 193 кг – CB400 NC31
- 195 кг – CB400 NC31 Version R
- 189 кг — CB400 NC39
- 197 кг – CB400 NC42
- 200 кг — CB400 NC42 Boldor

Похожие модели
- Стандарт — красная зона с 11тыс. оборотов.
- R-версия — отличалась обтекателем и квадратной фарой.
- S-версия — улучшенные тормоза BREMBO, спортивные настройки карбюраторов, красная зона сдвинута на 13тыс. оборотов.
Модификации мотоцикла Двигатель объемом 399см3 подогнан под японское законодательство и выдает 53 л.с.
Третье поколение: NC42.
2008-2013 — Honda CB 400 носит название Revo (Honda CB400SF Spec III Revo). Отличия от версий 04-07 гг. заключаются в цветовых решениях, серебристых крышках двигателя и колесных дисках. Параллельно выпускается версия Boldor с передним пластиковым обтекателем.
2014+ — модель получает светодиодную фару и новые алюминиевые 10-спицевые колеса.
2008 г.: Модель: Honda CB400SF (Super Four), Honda CB400 Super Boldor, Honda CB400 Super Boldor (ABS), Honda CB400 Super Four (ABS); Номер рамы: NC42-100001~; Код модели: CB4008, CB400S8, CB400A8, CB400SA8
2009 г.: Модель: Honda CB400SF (Super Four), Honda CB400 Super Boldor, Honda CB400 Super Boldor (ABS), Honda CB400 Super Four (ABS); Номер рамы: NC42-110001 до NC42-119999; Код модели: CB4009, CB400S9, CB400A9, CB400SA9
2010 г.: Модель: Honda CB400SF (Super Four), Honda CB400 Super Boldor, Honda CB400 Super Boldor (ABS), Honda CB400 Super Four (ABS); Номер рамы: NC42-120001~; Код модели: CB400A, CB400SA, CB400Aa, CB400SAa
2011 г.: Модель: Honda CB400SF (Super Four), Honda CB400 Super Boldor, Honda CB400 Super Boldor (ABS), Honda CB400 Super Four (ABS); Номер рамы: NC42-130001 до NC42-139999; Код модели: CB400B, CB400Sb, CB400Ab, CB400SAb
2012 г.: Модель: Honda CB400SF (Super Four), Honda CB400 Super Boldor, Honda CB400 Super Boldor (ABS), Honda CB400 Super Four (ABS); Номер рамы: NC42-140001~; Код модели: CB400C, CB400Sc, CB400Ac, CB400SAc
2013 г.: Модель: Honda CB400SF (Super Four), Honda CB400 Super Boldor, Honda CB400 Super Boldor (ABS), Honda CB400 Super Four (ABS); Номер рамы: NC42-150001~; Код модели: CB400D, CB400Sd, CB400Ad, CB400SAd
2014 г.: Модель: Honda CB400SF (Super Four), Honda CB400 Super Boldor, Honda CB400 Super Boldor (ABS), Honda CB400 Super Four (ABS); Номер рамы: NC42-160001~
2015 г.: Модель: Honda CB400SF (Super Four), Honda CB400 Super Boldor, Honda CB400 Super Boldor (ABS), Honda CB400 Super Four (ABS); Номер рамы: NC42-170001~
2016 г.: Модель: Honda CB400SF (Super Four), Honda CB400 Super Boldor, Honda CB400 Super Boldor (ABS), Honda CB400 Super Four (ABS); Номер рамы: NC42-180001~

Вес и габариты
Электроника Бак имеет объем 18 литров. Средний расход топлива по городу порядка 5,5-6,5 литров на 100 км. Расход по трассе — 4,5 литров, но может быть и меньше, в зависимости от манеры и стиля езды. Заправляется бензином АИ-95, АИ-92.
